21833 YARDBIRD CHICKEN PLUCKER 1.50HP

SERIES #043319, MODEL YEAR 2022

Parts Catalog

View Documents

11/1/2022
SERIES # 43319, MODEL YEAR 2022
11/1/2022
SERIES # 43319, MODEL YEAR 2022

Click on Titles Below to View Assembly & Parts List

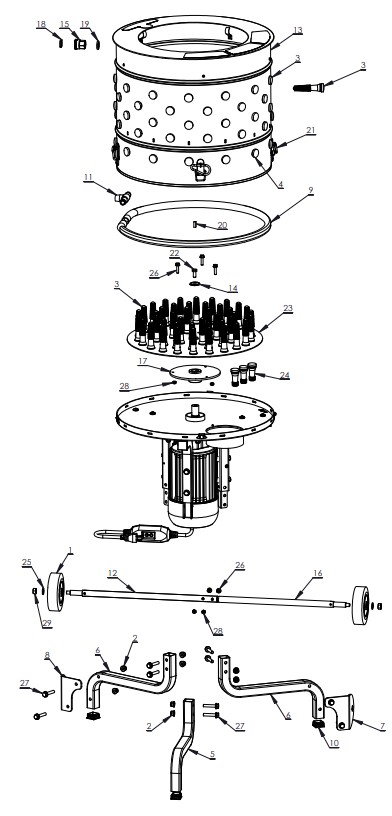
  • MAIN ASSEMBLY 

  • MOTOR PLATE BREAKDOWN 

  • MOTOR BREAKDOWN 

  • Enter the quantity for each part you wish to purchase and press the "ADD TO CART" button.

    Key No. Part No. Image Description Cost Availability Order Qty.